Architecture of the Atmel ATmega 328 Microcontroller

Ben Clifford

Welsh Centre for Printing and Coatings

10/08/2025

#../website/lectures/week02/index.qmd

lecture cover image showing architecture, some gates and an Arduino nano board

Introduction

In Introduction to Microcontrollers and Microcontroller Architecture we described what a microcontroller is and looked at how one can be described by considering its architecture. We finished the lecture looking at The Atmel ATmega 328 Microcontroller which provides an overview of the AVR core architecture and we introduced the general purpose registers and the ALU.

Lecture Topics

Introducing the Atmel ATmega 328 MCU

Architecture of the Atmel ATmega 328 MCU

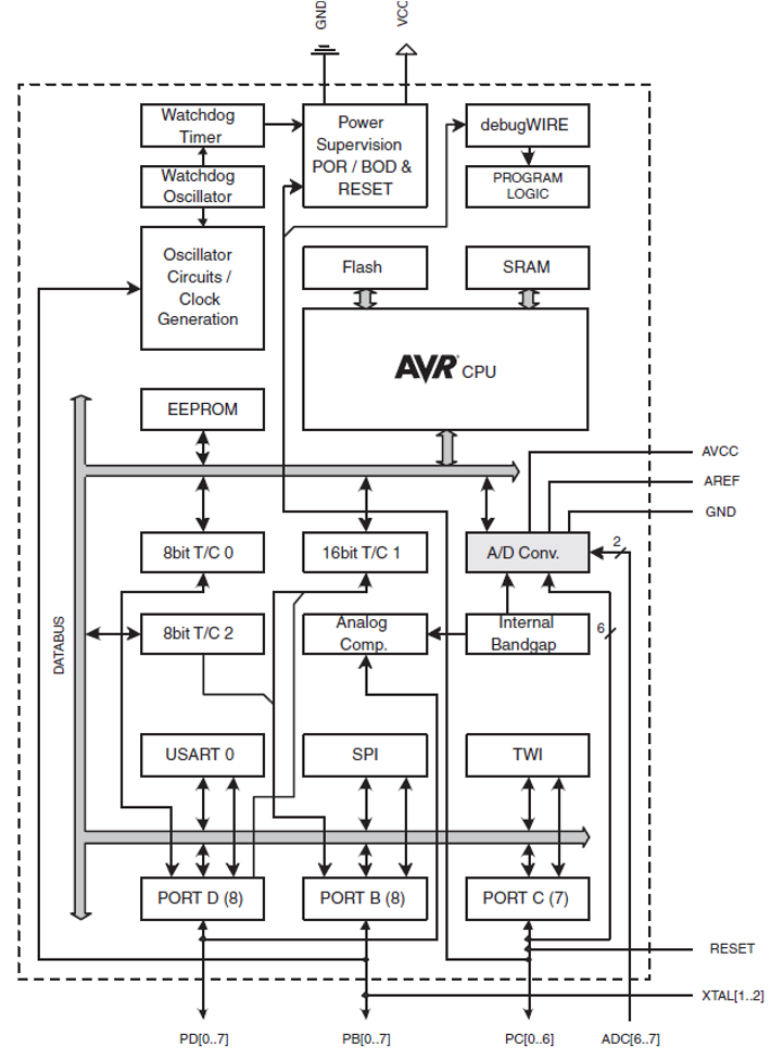
The architecture of the Atmel ATMega328 Microcontroller

Figure 1: The architecture of the Atmel ATMega328 Microcontroller

Referring to Figure 1, we note that

  • This is an 8-bit CMOS microcontroller based on the AVR enhanced RISC architecture with 131 instructions
  • It has 2KB of Internal SRAM, 32 KB of Flash Memory and 1 KB of EEPROM
  • It has 32 General Purpose Registers
  • It can achieve up to 20 MIPS at 20 MHz (maximum clock frequency)
  • There are 8 Analog I/O Pins connected to 10-bit ADC
  • There are 22 Digital I/O Pins (6 capable of PWM)
  • The AVR core uses a Harvard memory architecture – with separate memories and buses for program and data.

The Status Register

What is the status register?

SREG - The AVR Status Register
Figure 2: SREG - The AVR Status Register
  • An 8-bit register containing flags that contain information about the result of the most recently executed instruction and the current state of the processor (Figure 2).
  • The status register is updated after all ALU instructions as specified by the instruction set reference.

Example - Effect on SREG of ADC instruction

Example instruction showing how the status register is affected by the `ADC` (add with carry) instruction.

Figure 3: Example instruction showing how the status register is affected by the ADC (add with carry) instruction (avr_instruction_set?)

Status Register Flags

Status Register Flags
Bit Flag Meaning
Bit 0 Carry Flag (C) The carry flag is set when the execution of the previous arithmetic or logic instruction produced a carry out of bit-7 or required a borrow.
Bit 1 Zero Flag (Z) The zero flag is set when the result of the previous arithmetic or logic instruction resulted in a zero
Bit 2 Negative Flag (N) The negative flag is set when the result of the previous arithmetic or logic instruction is negative
Bit 3 Two’s Complement Overflow Flag (V) The Two’s Complement Overflow Flag V supports two’s complement arithmetic. +ve + +ve = -ve or -ve + -ve = +ve
Bit 4 Sign Bit (S) The S-bit is always an exclusive or between the Negative Flag and the Two’s Complement Overflow Flag.
Bit 5 Half Carry Flag (H) The half carry flag is set when the execution of the previous arithmetic or logic instruction produced a carry out of bit-3 or required a borrow from bit-4.
Bit 6 Bit Copy Storage (T) A bit from a register in the Register File can be copied into T by the BST instruction, and a bit in T can be copied into a bit in a register in the Register File by the BLD instruction.
Bit 7 Global Interrupt Enable (I) The Global Interrupt Enable bit is set to enable interrupts. The individual interrupt enable control is then performed in separate control registers.

Status Register Example

Figure 4: An example of how the status register works

Status Register Demonstration

Code to be executed

LDI R16, Addend
LDI R17, Augend
ADD R16, R17

Status register

Record status of SREG at line 3.

Examples

\[ \begin{array}{lrr} \mathrm{Addend} & 0\,1\,1\,0\,1\,1\,1\,0 & 110_{10}\\ \mathrm{Augend} & 1\,1\,1\,0\,0\,0\,1\,1 & 227_{10}\\ \hline \mathrm{Sum} & & \end{array} \]

\[ \begin{array}{lrr} \mathrm{Addend} & 0\,0\,1\,1\,0\,1\,1\,1 & 55_{10}\\ \mathrm{Augend} & 0\,1\,0\,1\,0\,0\,0\,0 & 80_{10}\\ \hline \mathrm{Sum} & & \end{array} \]

\[ \begin{array}{lrr} \mathrm{Addend} & 1\,0\,0\,0\,0\,0\,0\,0 & 128_{10}\\ \mathrm{Augend} & 1\,0\,0\,0\,0\,0\,0\,0 & 128_{10}\\ \hline \mathrm{Sum} & & \end{array} \]

The Program Counter

What is The Program Counter?

  • A program is a sequence of instructions written in a particular order to perform a specific task
  • The instructions of the program are stored sequentially in non-volatile memory.
  • The program counter is a register which holds the address of the next instruction to be executed

Example of a program

Figure 5 illustrates a simple program to add two numbers.

An example program showing three instructions located at memory locations 0 through 2.

Figure 5: An example program showing three instructions located at memory locations 0 through 2.

Organisation of program memory

  • The ATmega328 microcontroller has a 32 Kbyte flash memory which is organised into 256 pages each containing 64 Words of program.
  • The program counter is 14-bits and can access each of these memory locations 0x00000x3FFE
  • The remaining addresses 0x3FFF0x7FA5 (the boot flash section) are reserved for the bootloader

Figure 6 illustrates the organisation of the program memory for the ATmega328.

The program memory of the ATmega328 microcontroller.

Figure 6: The program memory of the ATmega328 microcontroller

Figure 7 shows how the program counter is used to access the next instruction.

How the program counter is used to access instructions within the available pages of program memory.

Figure 7: How the program counter is used to access instructions within the available pages of program memory

Program Counter Demonstration

Table 1: A selection of instructions and the number of 16-bit words they need for storage.
Instruction Number of words
ADD 1
LDI 1
LDS 2
STS 2

When executing these instructions, the program counter advances by the number of words in each instruction. We will demonstrate this later.

LDI instruction

An extract from the Atmel ATmega328 data manual for the LDI instruction.

Figure 8: The LDI instruction: takes a four bit opcode, a 4-bit register number (0-31) and an 8-bit value. The program counter is incremented by one when this instruction is executed. (avr_instruction_set?).

LDS instruction

An extract from the Atmel ATmega328 data manual for the LDS instruction.

Figure 9: The LDS instruction: takes an bit opcode, an 12-bit opcode, a 4-bit register number (0-31) and an 16-bit value which represents a data location on memory (0-65535). The program counter is incremented by two when this instruction is executed. (avr_instruction_set?).

Example program

Listing 1: Assembly program illustrating the use of registers, the ADC function and the status register
;
; Assembly - simple addition.asm
;
; Created: 11/10/2022 14:14:16
; Author : Ben Clifford
;

        .device ATmega32

    .equ    VARIABLES   = 0x0100        ;Start address in internal RAM for variables (default)
        .equ    PROGRAMME   = 0x0000        ;Start address in Flash for programme (default)
        .equ    STACK       = 0x08FF        ;Last address in RAM to be used for the Stack (default)

        .equ    num1 = 110
        .equ    num2 = 227

        .DSEG
        .org VARIABLES

        .CSEG
        .org PROGRAMME                  

MAIN:       
        LDI R16, num1
        STS 0x0100, R16;

        LDI R16, num2
        STS 0x0101, R16;

        LDS R16, 0x0100;
        LDS R17, 0x0101;
        ADC R16, R17
        STS 0x0100, R16;

The Stack Pointer

The Stack

In a microcontroller, the ‘stack’ is a space in memory with a fixed origin and a variable size that can be used for temporary storage purposes, such as storing local variables and saving return address for subroutine calls and interrupts.

The stack supports two types of operations:

  1. Push – a data item is placed at the location pointed to by the stack pointer
  2. Pop or Pull – a data item at the current location pointed to by the stack pointer is removed.

The stack typically operates as a “Last In First Out” (LIFO) buffer

What is the stack pointer?

The stack pointer register keeps track of the top of the stack.

  • A stack PUSH command will decrement the stack pointer.
  • A stack POP command will increment the stack pointer.

The AVR stack pointer is implemented as two 8-bit registers in the I/O space.

The are called SPH (stack pointer high byte) and SPL (stack pointer low byte) as illustrated in Figure 10.

The AVR stack pointer implemented as two bytes SPH and SPL.

Figure 10: The AVR stack pointer implemented as two bytes SPH and SPL

Figure 11 illustrates the operation of the stack pointer as it appears to the user of the stack.

Illustration of the operation of a stack.

Figure 11: Illustration of the operation of a stack.

Stack Pointer Demonstration

Listing 2: Example of the use of the stack
;
; Assembly - Stack pointer example.asm
;
; Created: 11/10/2022 14:14:16
; Author : Ben Clifford
;

        .device ATmega32

    .equ    VARIABLES   = 0x0100        ;Start address in internal RAM for variables (default)
        .equ    PROGRAMME   = 0x0000        ;Start address in Flash for programme (default)
        .equ    STACK       = 0x08FF        ;Last address in RAM to be used for the Stack (default)
        

        .DSEG
        .org VARIABLES

        .CSEG
        .org PROGRAMME                  

MAIN:   
        LDI R16, 1;
        LDI R17, 2;
        LDI R18, 3
        PUSH R16
        PUSH R17
        PUSH R18

        POP R16
        POP R17
        POP R18

Introduction to Microcontroller I/O

I/O on the ATmega328

Input/output pins for the Arduino nano.

Figure 12: Input/output pins for the Arduino nano

Schematic diagram showing the I/O provided by the Atmel ATmega328 microcontroller.

Figure 13: Schematic diagram showing the I/O provided by the Atmel ATmega328 microcontroller (atmel_data?)

MCU Inputs

Consider a switch which on one side is connected to a 5V power source and on the other side to a microntroller input.

What voltage is read at the I/O port when the switch is closed and when it is open?

Pull Ups

To get around this issue, microcontrollers use pull-up (or pull-down) circuitry to hold the port high (or low) (see Figure 14).

Schematic of the pullup circuitry for the ATmega328.

Figure 14: Schematic of the pullup circuitry for the ATmega328 (from the manual (atmel_data?)

What voltage is read at the I/O port when the switch ‘S1’ is closed and when it is open now?

Port with pull-up enabled.

Figure 15: Port with pull-up enabled

Ports as General Digital I/O

The PORTC register.

Figure 16: The PORTC register

Configuring a pin

A portion of the memory map of the Atmel ATmega328 showing the location of the I/O registers.

Figure 17: A portion of the memory map of the Atmel ATmega328 showing the location of the I/O registers

Configuring a Pin - Data Direction

The DDxn bit in the DDRx Register (illustrated for DDRB in Figure 18) selects the data direction (input or output) of this pin.

DDRB - The port B data direction register.

Figure 18: DDRB - The port B data direction register.

Writing to a Pin - Output

The Pxn bit in the PORTx Register (illustrated for PORTC in Figure 19) has two purposes dependent on the condition of the corresponding bit in the DDRx register.

PORTC - the port C data register

Figure 19: PORTC - the port C data register

Reading from a Pin - Input

The port pin can be read through the PINxn Register bit (illustrated for PINB in Figure 20.

PINB - the port B input pins address

Figure 20: PINB - the port B input pins address

Configuring a Pin - Pull Up Enable

Providing a port is configured as an input.

  • If PORTxn is written logic one when the pin is configured as an input pin, the pull-up resistor is activated.

  • To switch the pull-up resistor off, PORTxn has to be written logic zero or the pin has to be configured as an output pin.

Basic I/O Demonstration

Listing 3: Demonstration of simple I/O

;.EQU DDRB = 0x04
;.EQU PORTB = 0x05

;.EQU PIND = 0x09
;.EQU DDRD = 0x0A
;.EQU PORTD = 0x0B

.CSEG
.ORG 0x0200
    ;setup bits 2 and 3 of port D as inputs
    IN R16, DDRD
    ANDI R16, 0b11110011
    OUT DDRD, R16

    ;setup bits 0 and 1 of port B as outputs
    IN R16, DDRB
    ORI R16, 0b00000011
    OUT DDRB, R16

    ;both pins B0 (D8) and B1 (D9) start low
    IN  R16, PORTB
    ANDI R16, 0b11111100
    OUT PORTB, R16

    ;Enable the pull up resistor for bits 2 and 3 of port D
    IN  R16, PORTD
    ORI R16, 0b00001100
    OUT PORTD, R16

LOOP:
    SBIC PIND, 2 ; skip RJMP if bit 2 is set (button pressed)
    RJMP LED1

    SBIC PIND, 3 ; skip RJMP if bit 3 is set (button pressed)
    RJMP LED2

    IN R16, PORTB
    ANDI R16, 0b11111100
    OUT PORTB, R16
    RJMP LOOP

LED1:
    SBI PORTB, 0
    RJMP LOOP

LED2:
    SBI PORTB, 1
    RJMP LOOP

.EXIT

Summary

In this chapter we have:

  • Introduced a few more parts of the AVR core, namely, the status register, program counter and stack pointer and how these are used under normal operation

  • Started to look at I/O on a microcontroller including the concept of pull up resistors as well as some of the specific registers used in the AVR core to enable the use of both input and output device

On Canvas

Canvas module Week 2: Microcontroller Architecture and I/O, along with these notes, there is some additional self study material on canvas on page Week 2: Atmel ATmega328 Architecture Overview. This includes a video demonstration, from my former colleague Ben Clifford, of the various topics discussed in this session.

There is also a quiz on Microcontroller Architecture.

Any Questions?

Please use the Course Question Board on Canvas or take advantage of the lecturers’ office hours.

Next time